emilspec
An Integrated Publishing, Inc. Site
eMilSpec
An Integrated Publishing Website
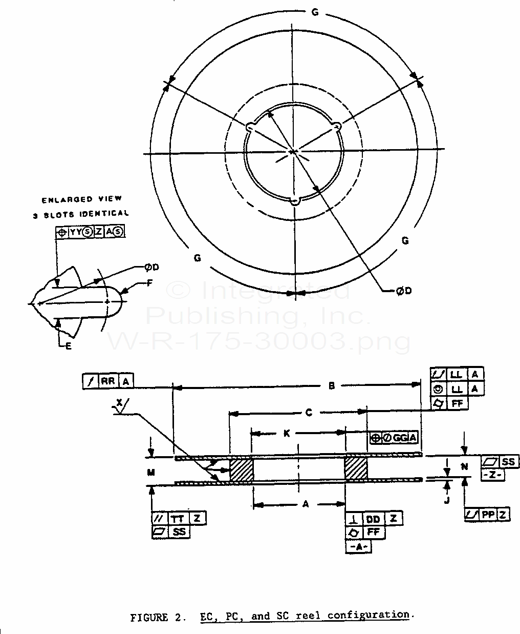
W-R-175 Reel And Hub For Magnetic Recording Tape, General Specification For
This specification covers the general requirements for reels and hubs used in conjunction with magnetic recording tape.
For Parts Inquires call
Parts Hangar, Inc
(727) 493-0744
© Copyright 2015 Integrated Publishing, Inc.
A Service Disabled Veteran Owned Small Business